製品仕様
容器本体、キャップ…SUS304
パッキン…シリコンゴム / フッ素ゴム / PTFE より選択
クランプバンド…SCS13
開口部サイズ:3Sヘルール
●表面処理:内外面バフ研磨
●使用条件:大気圧(加減圧不可)
●容器等級:Ⅱ(記号Y)2025.11容器等級変更のお知らせ
●収納可能な液体の比重:1.4以下
ご注意:
内容物や輸送方法(陸上、船舶、航空)により法令が異なりますので、ご確認ください。
現状の材質、構造で認定を受けています。パッキン等の材質の変更、容器の改造は行わないで下さい。JAN: 4560132183515
危険物を安全に輸送するのに必要なステンレス容器です。
開口部が3Sヘルールで、扱いやすいボトル形状です。
内容物によってパッキンの材質をシリコンゴム、フッ素ゴム、PTFEの3種類から選択できます。
型式例:PSF-10UNSまたはPSF-10UN…シリコンゴム / PSF-10UNB…フッ素ゴム / PSF-10UNT…PTFE
危険物容器の選定の流れ
メタノール2L海上輸送の場合を例に説明します。
STEP1【危険物か否か?】:輸送したい物質が危険物かどうかの確認
メタノールのSDS(安全データシート)にて調べる。
→危険物(国連分類クラス3)である。船舶安全法:危険物、引火性液体類である。
![]()
STEP2【法規の確認】:対象の危険物を輸送するのに必要な事項の確認
→UNマーク表示の金属容器を使用する。容器等級:Ⅱ(Ⅰも可)
![]()
STEP3【容器の選定】:危険物に合った等級と材質の決定
→容器型式:PSF-12UNT 容器材質:SUS304 パッキン材質:PTFE 製品はこちら
UN容器のよくあるお問い合わせ(危険物容器のQ&A)
un規格 危険物容器 小型容器 鋼板ドラム 解説書
クランプバンドを確実に締めるにはこちらが便利です
トルクレンチで締め付けトルクを設定し、締め付けを標準化できます。
きつく締めすぎてパッキンがつぶれる・漏れることを防止します。
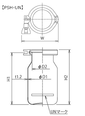
寸法参考図

サイズ表
| 型式 | 容量 | 質量 | 内径 | 高さ | 全高 | 最大幅 | 開口部 | 開口部 | 納期 | RoHS |
|---|---|---|---|---|---|---|---|---|---|---|
| L | kg | D1 | H1 | H2 | W | D2 | へルール | 日 | ||
| PSH-10UNS PSH-10UNB PSH-10UNT |
1 | 1.3 | 100 | 180 | 191 | 135 | 72.3 | 3S | 2~3 | ○ |
PSH-10UNS(パッキン材質:シリコン)は、PSH-10UNと表記されている場合があります。
- 危険物とは?
国土交通省より定められた品名を指します。
- UN規格とは?
危険物の国際輸送に関する国連勧告です。国際輸送にはUN規格品の必要があります。船舶、航空、陸上、全ての輸送機関に原則として適用します。
- 証明書類はありますか?
証明書と試験成績書、図面があります。UNボトルをご購入頂いたユーザー様にご提供いたします。UNボトルに記載されているUNマークをお知らせ下さい。(例:1A1/X1.4/250/10/J/HK/NITTO)
- UN容器(UNボトル以外)、航空輸送用容器、トラック輸送用容器はありますか?
規格品では用意がございません。特注品対応で内容物に合わせた容器の設計、製作をいたします。製作した容器はUN容器として(財)日本舶用品検定協会にて性能試験を受けます。
- 購入したUN容器の修理や改造をしたい。
検査証を交付された危険物容器の改造、修理は出来ません。改造、修理した場合は再度、危険物容器としての試験を受ける必要があります。輸送後に圧送用の継手が付いた蓋と交換して、内容物を圧送する事は可能です。

お客様の要望に合わせた装置の提案を致します
MONOVATEでは貯蔵容器の設計もご対応します!お客様の用途や業界のニーズに合わせて設計段階から緊密にコミュニケーションをとりながら、最適な形状や材質、機能を提案し実現します。当社の豊富な経験と実績を活かし、業務効率や製品の安全性を最優先に考慮した特注の貯蔵容器をお届けいたします。どんな要望もお気軽にご相談ください。
同カテゴリーのカスタマイズ製品事例
- オールステンレス製 ポンプ付ボトル【採用事例】アルコール用 蒸気滅菌できるステンレス製ポンプボトル(ディスペンサーボトル)

製薬メーカー様納入
〇ポンプボトル(ディスペンサーボトル)のオーダーメイド事例です。
・アルコールを入れ、手の洗浄や機器の殺菌に使用しますされます。
- 50ml サンプルボトル【採用事例】試薬や試料を保管

製薬メーカー様納入
○試薬や試料の保管に使用する、ステンレスボトルのオーダーメイド事例です。
・容量が50mlと小容量のため、少量多種のサンプルの保管に最適です。



