製品仕様
容器本体…SUS304
キャップ…SUS304
パッキン…シリコンゴム、フッ素ゴム、PTFEより選択
(型式例:PSF-10UN…シリコンゴム / PSF-10UNB…フッ素ゴム / PSF-10UNT…PTFE)
クランプバンド…SCS13
●表面処理:内外面バフ研磨
●使用条件:大気圧(加減圧不可)
●容器等級:Ⅰ(記号X)
●収納可能な液体の比重:1.4以下
ご注意:
・内容物や輸送方法(陸上、船舶、航空)により法令が異なりますので、ご確認ください。
・現状の材質、構造で認定を受けています。パッキン等の材質の変更、容器の改造は行わないで下さい。
※パッキン材質がシリコンゴムの【PSF-UN】【PSH-UN】に関して、商社様のカタログでは型式が【PSF-UNS】や【PSH-UNS】となっている場合があります。
JAN: 4560132183492
危険物を安全に輸送するのに必要な容器です。
ステンレスボトル(へルール式)形状で、1Lと2Lをご用意しております。
内容物によってパッキンの材質を3種類から選択できます。
(シリコンゴム、フッ素ゴム、PTFE)
危険物容器の選定の流れを見る危険物容器の選定の流れ【危険物容器の選定の流れ】
【例】 メタノール2L海上輸送の場合
STEP1 【危険物か否か?】
輸送したい物質が危険物かどうかを確認する。
メタノールのSDS(安全データシート)にて調べる。⇒危険物(国連分類クラス3)である。
船舶安全法:危険物、引火性液体類である。
![]()
STEP2 【法規の確認】
対象の危険物を輸送するのに必要な事項を確認する。
UNマーク表示の金属容器を使用する。
容器等級:Ⅱ(Ⅰも可)
![]()
STEP3 【容器の選定】
危険物に合った等級と材質を決定する。
容器:PSF -12UN
容器材質:SUS304
パッキン材質:PTFE
よくあるお問い合わせはこちらをご参照ください。(第4章 危険物容器のQ&A)
クランプバンドを確実に締めるにはこちらが便利です
トルクレンチで締め付けトルクを設定し、締め付けを標準化できます。
きつく締めすぎてパッキンがつぶれる・漏れることを防止します。
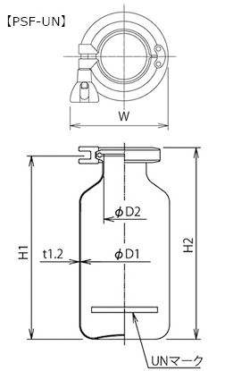
寸法参考図
サイズ表
| 型式 | 容量 | 重量 | 内径 | 高さ | 全高 | 最大幅 | 開口部 | 開口部 | 納期 | RoHS |
|---|---|---|---|---|---|---|---|---|---|---|
| L | kg | D1 | H1 | H2 | W | D2 | へルール | 日 | ||
| PSF-10UN | 1 | 1.0 | 100 | 208 | 219 | 113 | 47.8 | 2S | 2~3 | ○ |
| PSF-12UN | 2 | 1.4 | 120 | 253 | 264 | 122 | 47.8 | 2S | 2~3 | ○ |
| PSH-10UN | 1 | 1.3 | 100 | 180 | 191 | 135 | 72.3 | 3S | 2~3 | ○ |
- 危険物とは?
国土交通省より定められた品名を指します。
- UN規格とは?
危険物の国際輸送に関する国連勧告です。国際輸送にはUN規格品の必要があります。船舶、航空、陸上、全ての輸送機関に原則として適用します。
- 証明書類はありますか?
証明書と試験成績書、図面があります。UNボトルをご購入頂いたユーザー様にご提供いたします。UNボトルに記載されているUNマークをお知らせ下さい。(例:1A1/X1.4/250/10/J/HK/NITTO)
- UN容器(UNボトル以外)、航空輸送用容器、トラック輸送用容器はありますか?
規格品では用意がございません。特注品対応で内容物に合わせた容器の設計、製作をいたします。製作した容器はUN容器として(財)日本舶用品検定協会にて性能試験を受けます。
- 購入したUN容器の修理や改造をしたい。
検査証を交付された危険物容器の改造、修理は出来ません。改造、修理した場合は再度、危険物容器としての試験を受ける必要があります。輸送後に圧送用の継手が付いた蓋と交換して、内容物を圧送する事は可能です。

お客様の要望に合わせた装置の提案を致します
MONOVATEでは貯蔵容器の設計もご対応します!お客様の用途や業界のニーズに合わせて設計段階から緊密にコミュニケーションをとりながら、最適な形状や材質、機能を提案し実現します。当社の豊富な経験と実績を活かし、業務効率や製品の安全性を最優先に考慮した特注の貯蔵容器をお届けいたします。どんな要望もお気軽にご相談ください。
同カテゴリーのカスタマイズ製品事例
- 粉体回収チャンバー(ボトルタイプ)【採用事例】装置に接続し、粉状の製品を回収するステンレス容器

粉体製造メーカー様納入
○装置に接続し、粉状の製品を回収するステンレス容器のオーダーメイド事例です。
・へルール接続のボトル形状にしたことで、通常より気密性に優れています。
- トルク管理できるボトル【採用事例】ボトルの締め込みを標準化・漏れ防止に

○トルク管理が可能なステンレスボトルの事例です。
・蓋にナットを溶接し、トルク管理をできるようにしています。
・蓋を閉める際、蓋に溶接されたナットにトルクレンチ・ソケットを差し込んで使用します。





