製品仕様
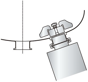
・RBh型はモーターカバー部をラボジャッキで支えます。
・容器の形状により取り付けができない場合がございます。
※MAG-NEOはマグネオ技研の登録商標です。(登録第4265849)
※MAG-NEOシールミキサーは特許の磁気カップリングを使用しています。
※本カタログの無断転載及び無断複写・複製(コピー)をお断りします。
※掲載資料は、マグネオ技研より許諾され複製しています。
・容器底外面に駆動部を持ち、容器を密閉した状態での撹拌が可能なマグネットタイプの撹拌機です。
・沈降防止の撹拌に最適です。※
・医薬品、化粧品、バイオ、半導体、食品関連などサニタリー性、クリーン度が要求される撹拌に最適です。
・タンクと撹拌軸のシール部は貫通軸がなく、複雑なシール構造もないシンプルな構造です。
※固体・粉体などの撹拌は、その物性により撹拌できないものがありますので、別途ご相談ください。- 撹拌機の選定は出来ますか?
容器の仕様や内容物などで選定いたします。
- 単体で購入できますか?
撹拌機は容量、内容物などで仕様を決定していますので、単体での販売はしていません。

お客様の要望に合わせた装置の提案を致します
MONOVATEでは貯蔵容器の設計もご対応します!お客様の用途や業界のニーズに合わせて設計段階から緊密にコミュニケーションをとりながら、最適な形状や材質、機能を提案し実現します。当社の豊富な経験と実績を活かし、業務効率や製品の安全性を最優先に考慮した特注の貯蔵容器をお届けいたします。どんな要望もお気軽にご相談ください。
同カテゴリーのカスタマイズ製品事例
- ホース乾燥・保管用ラック【採用事例】置き場所に困りがちな「ホース」や「配管」の収納に便利です。

洗浄後のホースを吊るし、乾燥・保管するための台座です。
耐食性に優れたステンレス(SUS316L)を使用しています。
- ステンレス製架台車【採用事例】クリーンベンチと組み合わせて使用する、ステンレス製架台

製薬メーカー研究所様納入
○ドラフトチャンバー(急所排気装置)やクリーンベンチ(無菌ベンチ)と組み合わせて使用する、ステンレス製架台(台車)のオーダーメイド事例です。
・研究室内に設置されているチャンバー、ベンチに挿入し、多数の同サイズのチャンバー間を試験材料を乗せたまま移動交換します。




